لا تكف شركات السيارات عن البحث عن كل جديد قد يجذب إليها مزيدًا من العملاء، وفولفو ليست استثناءً من ذلك، وقد خرجت علينا بتقنية جديدة يبدو أنها ستحل مشكلة أولئك الذين يستعملون يدهم اليسرى في حياتهم، ولا شك أنهم يواجهون صعوبة في اضطرارهم إلى تغيير ذلك عند القيادة، فعجلة القيادة على اليسار، وناقل الحركة على اليمين.. فماذا فعلت فولفو؟

تقدمت الصانعة السويدية بطلب للحصل على براءة اختراع لعجلة قيادة منزلقة! نعم، عجلة قيادة تنزلق يمينًا ويسارًا على لوحة القيادة، ما يسمح لسائق السيارة بالتحكم فيها من أي من المقعدين الأماميين، فإذا كان قائد السيارة يستخدم يده اليمنى ظلت عجلة القيادة في مكانها التقليدي المعتاد على اليسار، أما إن كان أعسر –أي يستخدم يده اليسرى- فيمكنه ببساطة أن يجعل عجلة القيادة تنزلق يمينًا لتصبح على اليمين كسيارات المملكة المتحدة، ويمكنه حينها الجلوس على مقعد الراكب الأمامي وممارسة التحكم في ناقل الحركة بيده اليسرى.

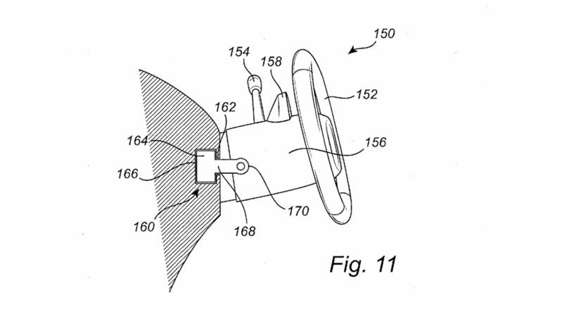
تضع التقنية الجديدة عجلة القيادة على مسار منزلق على لوحة القيادة، بينما تقدم حلين لمجموعة العدادات، شاشة تمتد على لوحة العدادات توجد خلف عجلة القيادة، أو شاشة صغيرة تنزلق مع عجلة القيادة، أما الدواسات فتصف فولفو في طلبها لبراءة الاختراع مستشعرات على لوحة الأرضية حساسة للضغط عبر الأرضية يتم تنشيطها بواسطة موضع عجلة القيادة، أما ناقل الحركة فقد خصصت له مسارًا منزلقًا.

ليس من المتوقع أن تنفذ فولفو فكرتها على سياراتها قريبًا، فالأفكار الجديدة دائمًا ما تحتاج إلى وقت مناسب كي يعتادها المستهلكون ويبدأون الإقبال عليها.