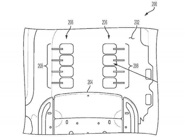
في تصريح من مكتب براءات الاختراع الأمريكي، أكد المكتب وجود براءة اختراع جديدة سجلتها شركة جنرال موتورز والتي تفيد بتقديم سيارات مستقبلية مزودة بميزة تدليك أقدام الركاب، والذي يظهر في تصميم بأرضية السيارة.

وتظهر براءة الاختراع الجديدة في شكل أكياس هواء صغيرة يمكن ملئها وتفريغها لتعمل كمدلك للأقدام بطريقة مريحة، ويتم وضعها في أرضية السيارة داخل مقصورة الركاب، وبرغم روعة هذه الميزة الجديدة، فإنها تعمل بنفس مفهوم التدليك في مقاعد السيارة وهي ليست رائدة، بل تجدها في سيارات أخرى مثل سيارات أودي.
ففي سيارة أودي A8 السيدان، تجد هذه الميزة الرائعة والتي تتطلب وجودك في المقعد الخلفي للسيارة ثم ترفع قدميك بمستوى جلستك، لوضعاه في جزء بالمقعد الأمامي وبالتحديد في ظهر مقعد الراكب الأمامي، ومكانها بالتحديد هنا لاستخدامها عادة كسيارة ليموزين.
وقد يكون الاختلاف الوحيد بينها وبين الموجود في سيارة أودي A8 السيدان الكبير هو توفرها لجميع الركاب وليس الركاب الخلفيين فقط، ويمكن أيضًا وضعه بأي مكان بالسيارة، وكذلك خدمة أودي توجد في أماكن لا تتسخ كثيرًا، بينما يتطلب نظام جنرال موتورز من ضرورة نظافة أرضية السيارة لاستخدام هذه الميزة بكفاءة.